|
This page contains dual-purpose mechanical pencils or pens with functional slide rules, based on logarithmic scales, in their design. Having a slide rule in your vest pocket might be handy when you are an engineer, scientist, or architect, while working in the field, or while attending a business meeting, where you are caught without your personal slide rule. ISRM has only one physical specimen in this catagory, so the images are contributed from collectors and other sources. Our appreciation from the members of the Oughtred Society for their contributions and research of these fascinating combined slide rules. Nathan Zeldes in Jeruselum states "20th century Engineers just loved pens and pencils (hence the pocket protector, that iconic geek accessory of yesteryear). And of course, engineers lived by their slide rules. Small wonder, then, that enterprising inventors tried to pack the functionality of the slide rule into a pencil form factor - a thin rod you could clip into your shirt pocket. And if it could actually write, so much the better!". Rodger Shepherd, the undisputed expert in this field, has written numerous articles published in the Journal of the Oughtred Society. His combined work Pencil Slide Rules and Their Successors, The Calculator Pens and Pentop Computers" is available through the Oughtred Society. Other articles by Ed Chamberlain, Bob Otnes and Panagiotis Venetsianos have also published information articles in the JOS.
Physical Specimens or Patents listed Alphabetically
Aristo Dennert & Pape, Aristo Werke K.G.

Aristo No. 6103 Pen Slide Rules REF: Rodger Shepherd Collection

Aristo No. 6101 and 6103 Pen Slide Rules REF:Aristo 1961 Catalogue, Panagiotis Venetsianos
|
Aristo Rechinstift No. 6101 (pencil), 6103 (Ballpoint Pen) Slide Rules
Patent: DE179100U 20Aug1959 Rechinstift (Calculating Pencil)
Scales: C [ D ] with single hairline cursor
Note: two logarithmic scales, the top scale is the slide, having buttons buttons on each end to assist in moving the slide, with a single hairline sliding cursor
DE1794100U Aristo Patent PDF
Partial Abstract: (Need a good Translation)
|
Gilbert Descharte, Brazilian Inventor

Descharte Slide Rule Fountain Pen REF Espacenet Patent Search
|
Descharte Slide Rule Fountain Pen
Possibly made in Germany
Scales: six scales C [ D ]
Note: Cylindrical scales. Twist top and bottom of pen to calculate. Clear sleeve with hairline.
Similar to Posse-Marre slide rule shown in this gallery
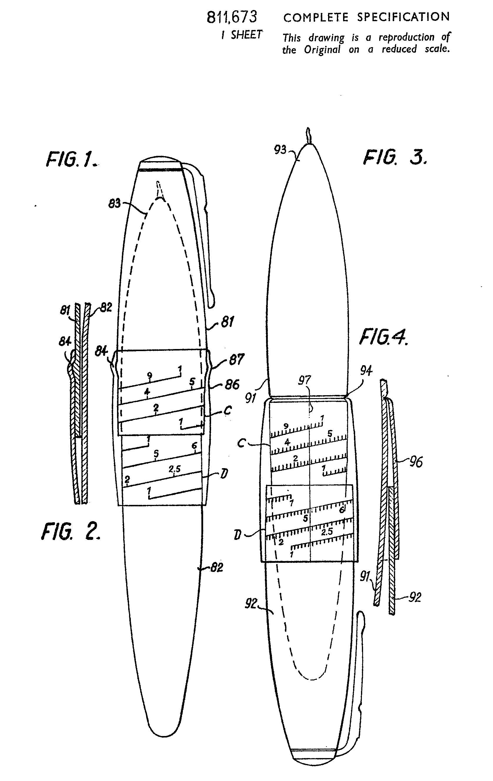
Note: This design is similar to the Gilbert Descharte, a Brazilian Inventor, who designed a pen incorporating a slide rule in 1955 and obtained French and British patents. His design showed a fountain pen with a removable cap, to place on the opposite end while writing. The pen could be used in either fashion. The French patent has more drawings to show the dsign better.
GB811673A Gilbert Descharte Patent PDF
FR1154585A Gilbert Descharte Patent PDF
Partial Abstract: The present invention provides a slide rule arrangement which substantially reduces the
overall length of the elongated form of slide rule and this is suitable for incorporation on
the cylindrical surface of modified forms of automatic pencils or fountain pens.
According to the invention there is provided a writing instrument slide rule device comprising, a substantially cylindrical body
member for said writing instrument having a writing portion at one end thereof, an open
ended cap member for said writing instrument adapted to be rotatably mounted on said body
member, a first logarithmic scale having predetermined graduations arranged helically on
the outer surface of said cap member near the open end thereof, a second similar scale
having said predetermined graduations arranged helically on the outer surface of said
body member adjacent said open end of said cap member when the latter is rotatably
mounted thereon, said first and second scales being arranged on said members respectively
so that the ends of each of said scales are respectively axially aligned with the corresponding
ends of the other of said scales in one relative position of said cap member, and a
transparent aligning member rotatably mounted on one of said members and extending across said first and second scales substantially
transversely thereto for aligning desired parts of said scales.In the preferred embodiment the scales are
helical scales arranged respectively on the body member and cap member of a fountain pen.
|
DEVCO - Device Development Co. N.Y.

DEVCO Slide-Pen-Cyl 1952 REF Version 1 Rodger Shepherd Collection

REF Version 2 Rodger Shepherd Collection
|
DEVCO Slide-Pen-Cyl
Made in United States by Device Development Co. N.Y
Scales: A, B [ C, D L, S, T ]
Note: Sliding scales. Pull on top and bottom of pencil to align adjacent scales. Sliding cursor sleeve. There is a pencil on each end so it can write two colors.
Note: Instructions were written and copyrighted by Arnold Ellison January 28, 1952
|
EngPen Co., Chicago

EngPen Slide Rule Pencil REF Nathan Zeldes Collection
|
EngPen Slide Rule Pencil
Made in United States by EngPen Co., Chicago, Illinois
Scales: D, A Log, K [ C, Tan, Cos, Sin, 6in ]
Note: The EngPen is a 6-inch linear slide rule composed of two concentric hollow metal cylinders, serving as stock and slide, and a cylindrical cursor (which also carries a pocket clip). The device can easily slip over a pencil (or pen holder, a writing instrument also mentioned in Harlow's patent). 2015 Journal of the Oughtred Society V24,No2 page 20, by Nathan Zeldes of Jeruselum ,
Note: This seems to be the only specimen known to exist.
Harlow Patent, 1908 US0883800 Patent (PDF)
|
H.J. Flowers and John Protz, U.S.A. Inventors

H.J. Flowers Navigation Instrument REF: USPTO.gov
|
H.J. Flowers Navigation Instrument (1962)
Inventors: Harold J. Flowers, Latrobe, Pa. (47 Glen Road, R.D. 3,
Winston Park, Farmingdale, N.J.), and John Protz, 376
S. Walnut St., Blairsville, Pa.
As far as ISRM knows, this product idea never made it into production. If a family member has one of his prototypes, please let us know.
Scales: C [ D ] with Aviation metrics.
Note: two logarithmic scales on bands are manipulated by a one-handed thumb-wheel. See the entire abstract.
US3261548A Patent
Partial Abstract: This invention is for a navigation 'aid for air pilots, and more specifically it is for a navigation aid primarHy
useful for contact flying of aircraft, and is also useful in
instrument navigation.
One piloting an ,airplane, particularly a private plane without a navigator, often has his attention quite fully
occupied with handling the ship. Nevertheless, there are many problems which confront a pilot requiring rapid s0lution.
Various implements have heretofore been devised for this purpose, but, they require the use of both hands
to manipulate them and have other drawbacks.
The present invention has for its object to provide a convenient combination instrument that may be held and
operated in one hand, and which will solve most of the mathematical problems of contact flying confronting a
pilot, ,as well as being useful for instrument navigation. It may also be used as a rule, a divider, or in conjunction
with a compass as a protractor. Additionally it provides a convenient pen or pencil so that any necessary data
may be recorded.
A further object of our invention is to provide ,a convenient, simple, inexpensive combination tool which can
be carried like a pen in one's pocket, and has little more weight or bulk than many automatic pens or pencils now
necessarily oarried in addition to the other devices. These and other objects and advantages are secured
|
William S. Harlow, U.S. Inventor

W.S. Harlow Calculating Rule REF: USPTO.gov
|
W.S. Harlow Calculating Rule (1908)
Inventor: WILLIAM S. HARLOW, OF SWAMPSCOTT, MASSACHUSETTS.
As far as ISRM knows, this product idea never made it into production. If a family member has one of his prototypes, please let us know.
Scales: TBD [ TBD ]
The inventor has stated in the abstract that any scale set could be used and does not discuss the types.
US3378195 Patent
Partial Abstract:This invention relates to a calculating rule and has for its special object to provide a
novel form of calculating rule which is especially adapted to be used in connection with a
pencil or pen.In accordancence with my invention, the calculating rule is made of sueh a shape that it
can be easily slipped over a pencil or penholder and carried on the handle thereof so that when thus supported a combined pencil
and calculatinging rule is produeed. So far ns I am aware ealculating rules are
made as a separate instrument so that to use them when making calculations, it is necessarry to lay one's pencil, pen, or other
writing implement, pick up the calculating rule and work' out' the dpsired calculation, then lay down the calculating rule
nud pick up the pencil and go on with the computation.
One advantage of my invention is that a simple calculating rule is combined with a
pencil... Furthermore the combining of the calculating rule with the
pencil eliminates the danger of' mislaying the [slide] rule.
|
M. Kron, French Inventor

Kron règle à calcul avec porte-plumes ou porte-mines. REF: Espacenet Patent Database
|
Rule for Calculating with Penholder or Mechanical Pencils(Nov, 1908)
Inventor: M.Kron of Paris, France
As far as ISRM knows, this product idea never made it into production. If a family member has one of his prototypes, please let us know.
Scales: TBD [ TBD ]
The inventor has stated in the abstract that any scale set could be used and does not discuss the types.
FR320058A Patent
Partial Abstract: (Need a good Translation)
|
Makeba-Kombinator

Makeba-Kombinator Slide Rule Pencil ISRM 14.10.07.01

Nathan Zeldes Collection, Jeruselum
|
Makeba-Kombinator Slide Rule Pencil (c1950)
Possibly made in Germany (Deutschland): Sachsen, Bautzen
Scales: A, C [ B, D ]
Note: Sliding scales. Pull on top and bottom of pencil to move adjacent scales. Sliding cursor with two windows, multiple hairlines.
Note: Acquired from Riga, Latvia.
Makeba was established in Bautzen, Germany, in 1922. By the 1950s, it was a sub-brand of Markant, an East German company that copied designs for Pelikan fountain pens as late as the 1970s. Reference: Der neue Makeba-Kombinator: Fallstift mit Rechenschieber (Bautzen, East Germany: VEB Füllhalterfabrik Makeba, 1957).
|
G. Marcantoni & C., Bresso-Milano, Italy

Marcantoni Slide Rule Pencil REF: Rodger Shpherd Collection
|
Marcantoni Slide Rule Pencil (c1960)
Made in Milano, Italy by G. Marcantoni & C., Bresso-Milano, Italy
Scales: 10cm || D [ C, B ] A ||4in
Note: Marcantoni was a well-known slide rule manufacturer in Italy. Machine Divided scales. They used these as promotion items for various companies.
|
Monroe Manufacturing Company
Note: Renamed to Monroe Universal, N.Y, USA in 1956


Monroe Slide Rule Pencil REF: Rodger Shepherd Collection
Note: Apparently identical is the Nicolet Slide Rule Pencil with patents by Nicholas E. Nicolet, New York, US2656978 (filed 24.10.1950, issued 27.10.1953) and US2806649 (filed 06.11. 1953, issued 17.09.1957). For the relationship between Nicolet and Monroe pens see The Nicolet and the Monroe in Context in the book by Roger Shepherd, p. 22ff.
|
Monroe Slide Rule Pencil (c1950)
Made in United States by Nicolet.
Scales: A, D ( B, C, CI, K )
Note: Nicholas E. Nicolet only sold his design under his brand, for only one year. He had Monroe Manufacture them, then Monroes obtained the rights to continue producing the pencils under their name, up until 1967
Note: the Monroe slide rule pencil (same as Nicolet) is a pencil-like: a compact retractable mechanical pencil with a fully functional slide rule built into its envelope. The outer black tube carries the engraved A and D scales; the inner sleeve, which is fixed to the top cap, bears four paper scales: B, C, CI, and K. One of these is visible at any time through the long
cutout on the outer tube, which is flanked by those A and D scales. You rotate the cap to choose which scale shows through, and pull it to move the inner scale relative to the outer two. Add the clear annular hairline cursor that slides along the pen and you have a tubular implementation of a regular slide rule, capable of multiplying, dividing, and handling reciprocals, squares and cubes.
This slide rule is described in a patent applied for in 1953 by Nicholas E. Nicolet and Herman Neiges, of New York. Despite the praises in that document, it has a limited accuracy due to its very short (3 inch) scales and poor dimensional stability. The photo shows how the C and D scales are set to perform multiplication by 2.(ref: Nathan Zeldes).
|
Nicholas E. Nicolet, New York

Nicolet Slide Rule Pencil
REF: Rodger Shepherd Collection

REF: Nathan Zeldes Collection
|
Nicolet Slide Rule Pencil (c1953)
Made in United States by Nicolet.
Patents: Nicholas E. Nicolet, New York, US2656978 (filed 24.10.1950, issued 27.10.1953) and US2806649 (filed 06.11. 1953, issued 17.09.1957)..
Scales: A, D ( B, C, CI, K )
Note: Nicholas E. Nicolet only sold his design, under his brand, for only one year. He had Monroe Manufacture them, then Monroe obtained the rights to continue producing the pencils under their name, up until 1967
Note: the Nicolet slide rule pencil, and it is the most pencil-like: a compact retractable mechanical pencil with a fully functional slide rule built into its envelope. The outer black tube carries the engraved A and D scales; the inner sleeve, which is fixed to the top cap, bears four paper scales: B, C, CI, and K. One of these is visible at any time through the long cutout on the outer tube, which is flanked by those A and D scales. You rotate the cap to choose which scale shows through, and pull it to move the inner scale relative to the outer two. Add the clear annular hairline cursor that slides along the pen and you have a tubular implementation of a regular slide rule, capable of multiplying, dividing, and handling reciprocals, squares and cubes.
This slide rule is described in a patent applied for in 1953 by Nicholas E. Nicolet and Herman Neiges, of New York. Despite the praises in that document, it has a limited accuracy due to its very short (3 inch) scales and poor dimensional stability. The photo shows how the C and D scales are set to perform multiplication by 2.(ref: Nathan Zeldes).
US2806649 1957 Nicolet Patent PDF
|
POSE-MARRE - Designed by Karl Opdenhövel

Karl Opdenhövel Slide Rule Ball-Point Pen REF Nathan Zeldes Collection
|
Karl Opdenhövel Slide Rule Ball-Point Pen
Made in Germany for Pose-Marre
Cylindrical scales: Twist top and bottom of pen to calculate. Clear sleeve with hairline.
The Pose-Marre only has two one-cycle logarithmic scales, the C and D scales. Each of the two cylinders has one of these scales, which is segmented into three parallel circles around the pen. The segments are (necessarily): 1.0 - 2.16 / 2.16 - 4.65 / 4.65 - 10.
Archive - Nathan Zeldes Collection, Jeruselem..
Note: This design is similar to the Gilbert Descharte, a Brazilian Inventor, who designed a pen incorporating a slide rule in 1955 and obtained French and British patents. His design showed a fountain pen with a removable cap, to place on the opposite end while writing. The pen could be used in either fashion. The Karl Opdenhövel design, however, has a retractable ball point pen, being less hazerdous to white shirts worn by engineers.
Logarithmische_Rechenvorrichtung_Schreibgerät; Inventor: Karl Opdenhövel (PDF)
|
Ruxton Multi-Vider Corp.

Ruxton Multi-Vider 1928 Slide Rule Pencil REF

Jonathan A. Veley Collection
|
Ruxton Multi-Vider 1928 Slide Rule Pencil
Made in the United States by the Ruxton Multi-Vider, Corp. New York
Patents: GB325357 (A) 1930-02-20, BE358568A, DK42516 (C) 1930-07-07, FR670320 (A) 1929-11-27, AT118372 (B) 1930-07-10
Note: Interestingly, there was no U.S. Patent for this invention. It may have been denied for prior art
Scales: A [ B ]
Note: Sliding scale. Pull on top and bottom of pencil to move adjacent scale. Pen is split down the center. No cursor. Limited to multiply and divide functions.
Archive - RetroCalculators.com Richard Register Collection, San Francisco, CA and
leadheadpencils.blogspot.com/2017/01Jonathan A. Veley Collection, and Vintage Pens David Nishimura Collection.
|
Jochim Sauer, Lemberg, Poland (today Lviv, Ukraine)

Schauer "Universal Pencil" Slide Rule REF: Ed Chamberlain Collection

US3378195 Patent
|
Schauer "Universal Pencil" Slide Rule (c1920)
Made in Italy
Scales: S, C, D and R [ Ho [o, u ] Hu, T, L, S ]
Patents: Patents of Jochim Sauer from Lemberg / Lwow, Poland (today Lviv, Ukraine): DE423733 " Slide rule designed as pen or pencil holder " of 16.09.1924 with supplement DE426200 "Logarithmic calculating pen" (from 01.01.1925), US1599102 (issued 07.09. 1926), GB259112 (issued 07.10.1926).
...
JOS V6.1 Article "The Voith Slide Rule" by Edwin J. Chamberlain
Note: According to the detailed instructions, the calculator can be used for just about all arithmetic tasks: in addition to the 4 basic arithmetic operations as a table for currency accounting and workshop operation, percentage calculation, circular calculation, squaring, cubing, square and cube root, Brigg's logarithm calculation, tangent and angle calculation ( each with examples).
 DE423733C Patent
 US1599102A Patent
|
Charles H. Schuh, U.S. Inventor

Charles H. Schuh Slide Rule Pen REF: USPTO.gov
|
Charles H. Schuh Slide Rule Pen (1968)
Inventor: Charles H. Schuh, 430 Appian Way, St. Petersburg, Fla. 33704
As far as ISRM knows, this product idea never made it into production. If a family member has one of his prototypes, please let us know.
Scales: C, S, T [ D, LL-1, LL2, LL3, LL01, LL02 and LL03 ]
US3378195 Patent
Partial Abstract: A multi-scale slide rule pen comprising a writing pen covered by a single, thin, surface layer of post molded, thermoplastic encased, printed paper laminate in two sec tions, one permanently attached and the other slidable longitudinally, and an indicator with a circular hairline making contact with all the scales.
FIG. 1 shows two laminates (1 and 2) each comprising a thin sheet of paper laminated between clear thermo plastic sheets, that is encased in plastic in the customary manner. On the paper prior to lamination are printed the appropriate slide rule scales, shown at 4 and 5. The set of scales (4 on laminate 1) are those usually found on the slide of the standard slide rule, for example, the C, S and T scales. The set on laminate 2 are those usually found on the stator bars of the standard slide rule, for example, the D, LL-1, LL2, LL3, LL01, LL02 and LL03 scales. FIG. 2 shows these same two laminates (at 6 and 7) formed into cylindrical segments of a diameter slightly less than the diameter of the pen which is to be a part of the completed slide rule. The sheets are curved by heating the laminate to the softening point and then plac ing in a suitable mold to shape and then cooling in the mold to provide a permanent set. FIG. 3 shows the three elements of the pen or pencil slide rule ready to be assembled. The pen with the narrow strip (6 of FIG. 2) cemented to it is shown at 8. The cylindrical element (7 of FIG. 2) is shown at 10 ready to be slid over the pen. The cursor or indicator is shown at 11, ready to be slid over the rest of the assem bly. The cursor is simply a short piece of clear, thermoplastic tubing of the right diameter to fit tightly over the rest of the assembly, with a circular hairline (12) marked on the inside of it. There may also be attached to it, a pocket clip of standard design, as shown at 13.
|
Udo Riehle, Swiss Inventor

Udo Riehle 1966 Writing Implement With Slide Rule REF: USPTO.gov
|
Udo Riehle 1966 Writing Implement With Slide Rule (1966)
Inventor: Udo Riehle, Lehfrauenweg 1, Zurich-Witikou, Switzerland
As far as ISRM knows, this product idea never made it into production. If a family member has one of his prototypes, please let us know.
Scales: C [ D ]
US3261548A Patent
Partial Abstract: The present invention relates to a writing implement
which is combined with a slide rule.The need for a practical combination of a writing implement
with a slide rule has been felt for a long timeand such implements have already been made in the
form of pen -and pencil holders, mechanical pencils,fountain pens, ball-point pens and the like. All of the
known constructions had, however, the disadvantage of either permitting only a small part of the length of the
writing implement to be used for the slide rule or of being too bulky, of having parts which projected over or
considerably increased the required dimensions of the actual writing implement or interfered with 'an easy manipulation
thereof when used for writing, or of requiring adjustments to be made before the implement when
first used as a slide rule could be used for writing, or vice versa.
The principal objects of the invention are to provide
a combined writing implement and slide rule which overcomes the above-mentioned disadvantages, permits almost
the entire length of the implement to be used for the provision of slide rule scales thereon, has a very convenient
size for writing, and does not have any partswhich interfere with the function and easy manipulation
of the writing implement.
According to the invention, the above-mentioned objects are attained by providing at the inside of the ,casing
of the writing implement a flexible tape which is movable
from the outside in the longitudinal direction of the casing and is provided on its upper side with logarithmic scales
similar to those which in 'a conventional slide rule are marked on the slide bar. These scales on the movable
tape are associated in the usual manner with fixed scales which are marked adjacent to the longitudinal edges of
the tape, for example, on a fixed guide member within the casing on which the tape is slidably supported or on
,another fixed insert within the casing or on the casing itself. At least the scales on the movable tape are visible
through a longitudinal slot in the 'casing and they are preferably covered by a transparent window which covers
the slot either at the inner. or outer side of the casing or more preferably forms a solid arcuate part which is
|
|